Patents can be really, really weird. Often they’re just ideas that a company has pinned down and registered to stop anyone else beating them to it but they’re not fully realised or even particularly well developed. This latest patent, listed on USPTO and uncovered by a GAF user, seems to be a pretty smart idea accompanied by some bizarre illustrations.

The idea is for controller shells that you can clip your controller into which will then provide specific feedback for a game. The bear is obviously the weirdest but the patent also shows a kind of joystick created by clipping a vertical Move controller onto a base and a steering wheel which has a Move controller or a Nav controller in the centre of it.
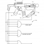
Most space is given to showing and describing how this might work with a version of the Sharpshooter rifle peripheral. There are a series of sensors in the grips and near the sights. Those can detect how you’re holding the weapon and change the gun accordingly. Hold your Sharpshooter with one hand by the pistol grip and the game knows you’re using a pistol. Hold it against your shoulder and look along the sight and the game knows you’re iron-sighting down an assault rifle.
Smart, huh?
Signals, such as electrical voltage or current signals indicating the depressing of a trigger on a gun-like shell, are sent through the game controller through the game controller’s wired or wireless connection back to the game console. Signals can flow in the other direction as well.
Signals from the video game console can be sent through the game controller to the smart shell in order to turn motors for tactile feedback, illuminate lights, or create sounds from a speaker in the smart shell.
As always with these patent applications, it may never see the light of day or it might be barely recognisable when it does appear but it’s interesting to look at how the company is thinking and how the same technology can be used for hardcore shooters and weird, nightmarish bear-squeezing simulations.








3shirts
Interesting. I love the Atari-style joystick! The squeezable bear is just odd. I can’t see a lot of game play options with that. Turn it upside down, hug it, punch it in the face? To be honest I think ‘kill it with fire’ is the only one I’d go for if the final design looked like that!
bunimomike
Oh my god, yes! Hahah. That’s superb. Complete throwback to my Amiga days. That’s me gone for the next few hours. YouTube videos of games I loved, here I come! :-)
double-o-dave
Holy Cow Tuffcub… you need to get down to A&E and get that Controller removed! lol
gazzagb
Imagine how wrong it would look if you had to stick the Move controller up the backside of your favourite teddy?
Tuffcub
Im calling the RSPCA.
double-o-dave
Maybe they’re making a long awaited for SuperTed game. Now the controller insertion gives me an idea on what the whispered magical words probably were.
bunimomike
There’s nothing magical about whispering “more lube, please”. It’s just good manners!
double-o-dave
It would have been better manners to use the Magic Wand Controller resulting in less lube needed saving Super Ted a bit of cash in the long run. They should mock up a diagram of what that may look like. eg: Fig 5(a) & Fig 6(a).
cam the man
Out of all the patents (by Sony) that have been shown recently I think this could be really good.
hazelam
kill it with fire!!!! O_O
Broonba
Liking the look of the move joystick. Brings back memories of my cousin snapping the stick off my Kempston joystick while playing Yie Ar Kung-Fu. His reward was the worst Chinese burn that he’s ever had. :D